청년도약계좌 신청기간 일시납입 체크
청년도약계좌는 경제적 자립과 성장을 원하는 청년들을 위해 특별히 설계된 금융 상품으로, 다양한 혜택과 유연한 가입 조건을 제공합니다. 신청기간과 조건, 혜택을 잘 이해하고 활용하면 미래를 위한 든든한 자산 형성이 가능합니다.
청년도약계좌 신청기간 개요


청년도약계좌는 청년들이 경제적 자립을 돕기 위해 마련된 특별 금융 상품입니다. 2024년 신청기간은 6월 4일부터 14일까지로 정해졌습니다. 이 기간 외에도 차수별 신청 가능 여부는 서민금융진흥원 홈페이지의 공지사항을 통해 확인할 수 있습니다. 또한, 청년희망적금 만기자와 만기 예정자도 청년도약계좌에 신청할 수 있어 많은 청년들의 관심을 받고 있습니다.
청년도약계좌 일시납입 지원
청년희망적금을 만기까지 유지한 경우, 청년도약계좌와 연계하여 가입할 수 있는 혜택이 제공됩니다. 특히, 청년희망적금 만기 금액을 일시납입할 수 있는 제도가 눈에 띕니다. 최소 200만 원부터 시작해 청년희망적금의 만기 금액 한도 내에서 일시납입이 가능하며, 이를 통해 초기 납입 부담을 덜 수 있습니다.
납입 금액은 월 설정 금액으로 40만 원, 50만 원, 60만 원, 70만 원 중에서 선택할 수 있어 유연한 자금 계획이 가능합니다. 또한, 2024년 5월까지 진행되는 이벤트를 통해 일시납입 연계 가입자에게 추첨을 통해 기프티콘도 제공됩니다. 이러한 혜택은 많은 청년들에게 추가적인 동기를 제공합니다.
청년도약계좌 조건 및 혜택
청년도약계좌는 청년들의 경제적 도약을 돕기 위해 다양한 조건과 혜택을 제공합니다. 조건을 충족하면 누구나 혜택을 받을 수 있으니 꼼꼼히 살펴보세요.

나이 조건
가입 가능한 나이는 만 19세부터 34세까지입니다. 다만, 병역 의무를 이행한 경우 최대 6년까지 나이에서 제외되므로, 실제로 만 40세까지도 가입이 가능할 수 있습니다. 이러한 유연한 나이 조건은 병역 이행으로 경제 활동이 늦어진 청년들에게 큰 기회를 제공합니다.


소득 조건
직전 과세기간의 총급여가 7,500만 원 이하이며, 종합소득금액이 6,300만 원 이하인 경우 가입 가능합니다. 또한, 육아휴직급여나 비과세 소득만 있는 경우는 조건에서 제외되니 가입 전 반드시 확인해야 합니다. 직전 과세기간의 소득이 확정되지 않은 경우, 전전년도 소득을 기준으로 인정받을 수 있는 유연성도 특징입니다.


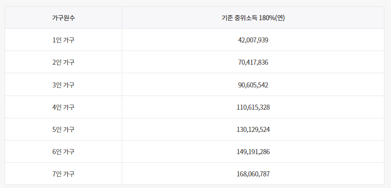
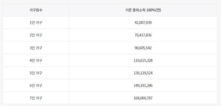
가구소득 조건
가입자는 가구원의 중위소득 180% 이하 조건을 충족해야 합니다. 가구원에는 본인 외에도 배우자, 부모, 자녀, 형제·자매 등이 포함됩니다. 가구소득 기준은 가계의 실질적인 소득 수준을 반영하기 때문에, 소득 구조가 복잡한 경우에도 명확한 가이드라인을 제공합니다.
금융소득종합과세 대상 여부
가입자가 금융소득종합과세 대상자인지 확인하는 과정도 필요합니다. 가입 직전 3년 동안 단 한 번이라도 금융소득종합과세 대상이 아니라면 조건을 충족합니다. 이를 통해 많은 청년들이 보다 쉽게 가입할 수 있는 환경을 조성하고 있습니다.
청년도약계좌 혜택
청년도약계좌의 가장 큰 장점은 납입 금액에 따라 정부가 기여금을 지원한다는 점입니다. 납입 금액이 많을수록 지원금 역시 증가하며, 지원금과 본인의 납입금에 대해 비과세 혜택이 적용됩니다.
특히 저소득층 청년들은 추가적으로 우대금리를 받을 수 있어 더 높은 이자 수익을 기대할 수 있습니다. 이는 청년들의 자산 증식에 실질적인 도움을 제공하며, 장기적인 경제적 안정성을 보장합니다.
청년도약계좌 신청 방법
- 서민금융진흥원 홈페이지 방문: 신청기간에 맞춰 공지사항을 확인합니다.
- 본인 인증: 본인 확인 및 소득 정보 입력이 필요합니다.
- 금융기관 선택: 계좌 개설을 원하는 금융기관을 선택합니다.
- 계좌 설정: 월 납입 금액과 일시납입 금액을 결정합니다.
- 최종 제출: 신청서를 제출하고 결과를 기다립니다.
신청 과정은 간단하며, 대부분의 정보를 온라인에서 처리할 수 있어 접근성이 높습니다.
청년도약계좌와 청년희망적금 비교


청년도약계좌와 청년희망적금은 유사한 취지로 운영되지만, 몇 가지 차이점이 있습니다. 청년희망적금은 소득 구간에 따른 우대금리가 주된 혜택이라면, 청년도약계좌는 정부 기여금 지원과 비과세 혜택이 핵심입니다. 두 계좌를 적절히 활용하면 금융적 이점을 극대화할 수 있습니다.
결론
청년도약계좌는 경제적으로 도약하고자 하는 청년들에게 매우 유용한 금융 상품입니다. 신청 기간과 조건을 정확히 이해하고 적절히 활용한다면, 자산 증식과 경제적 안정을 동시에 이룰 수 있습니다. 특히, 일시납입과 우대금리 혜택은 초기 자본 형성에 큰 도움이 될 것입니다.
'기타' 카테고리의 다른 글
| 미 연방준비제도(Fed)의 인플레이션 지표 상세 분석 (0) | 2024.08.14 |
|---|---|
| 인천 영종도 해상서 신원미상 여성 숨진 채 발견 (0) | 2024.08.11 |
| 2024년 연봉 실수령액 표 (최신 4대 보험 & 소득세 반영) (0) | 2024.04.15 |
| 솔잎 기름짜는 방법: 자연의 향과 건강을 담은 전통 비법 (0) | 2024.03.19 |
| 사양벌꿀 진짜벌꿀 차이, 사양꿀이란 (0) | 2024.03.18 |